Cód QR
Táirgí
Glaoigh orainn


Facs
+86-574-87168065

R-phost

Seoladh
Limistéar Tionscail Luotuo, Ceantar Zhenhai, Cathair Ningbo, an tSín
Má tá tú ag rith innealra trom - cosúil le muilte rollta cruach a chorraíonn miotail go léir, craenacha a thógann tonna ábhar, nó trealamh mianadóireachta a throideann deannach agus brú faoin talamh - beidh cúpláil uait nach ligfidh síos duit. Sin é go díreach a bhfuil Cúpláil Uilíoch Cineál Táthú Flex Caighdeánach Raydafon SWC-BH tógtha dó: tarchur chasmhóiminte iontaofa, fiú nuair a bhíonn an post garbh.
Ar dtús, déanaimis labhairt faoina dhearadh. Ní gné amháin é an cuing táthaithe - is athróir cluiche é. Murab ionann agus cuingeanna bolta is féidir a scaoileadh le himeacht ama, tá an ceann seo soladach táthaithe, agus mar sin níl aon bhaol ann go gcroitheadh páirteanna scaoilte nuair a bhíonn d'innealra ag obair go dian. Agus oireann sé do raon socruithe freisin, le trastomhais gyration ó 180mm go 620mm - ní gá a bheith ag lorg rogha aon-mhéide-níl aon cheann. Mar chúpláil flex uilíoch caighdeánach, láimhseálann sé suas le 15 céim de mhí-ailíniú uilleach, rud a chiallaíonn mura bhfuil do seafta líneáilte go foirfe (agus a bheith fíor, is annamh a bhíonn siad), coinníonn sé an chumhacht fós ag gluaiseacht. Fiú nuair a bhuaileann an chasmhóimint 1250 kN·m - cumhacht thromchúiseach - fanann sé seasta, gan bacainní, ní thiteann sé.
Ní dhearnamar skimp ar ábhair, ach an oiread. Déantar an rud seo le cruach 35CrMo - stuif ard-láidre a chuireann in aghaidh caitheamh, fiú nuair a bhíonn sé ag bualadh timpeall i mianach nó á théamh in aice le muileann rollta. Ina theannta sin, cuirimid imthacaí snáthaidí cruinne isteach, mar sin bogann sé go réidh, laghdaítear an frithchuimilt, agus maireann sé i bhfad níos faide ná cúpláin níos saoire. Sin an fáth go bhfuil sé ina rogha do chúpláin uilíocha le haghaidh innealra trom - ní oibríonn sé ach ar feadh cúpla seachtain; maíonn sé thart, a choinneáil do threalamh ag rith. Agus má theastaíonn cúpláin uilíocha táthaithe uait le haghaidh feidhmeanna tionsclaíocha? Seo é - láimhseálann an dearadh táthaithe tonnchrith agus strus níos fearr ná roghanna bolted, mar sin caitheann tú níos lú ama ag socrú agus níos mó ama ag obair.
Ag Raydafon, déanaimid iad seo sa tSín, ach ní ghearraimid coirnéil ar cháilíocht. Leanann gach céim caighdeáin ISO 9001 - seiceáilimid an cruach, déanaimid iniúchadh ar na táthaithe, déanaimid tástáil ar na imthacaí - ionas go mbeidh a fhios agat go bhfuil cúpláil á fháil agat a chomhlíonann rialacha cáilíochta domhanda. Agus má tá do thus beagán difriúil? Déanaimid tweaks saincheaptha - coigeartaigh an méid, tweak na specs - is cuma cad a theastaíonn uait chun é a dhéanamh oiriúnach. An chuid is fearr? Níl sé mar phraghas mar chuid só. Faigheann tú cúpláil uilíoch buan a oibríonn go crua, gan fhortún a íoc. Do dhuine ar bith nach bhfuil in acmhainn aga neamhfhónaimh a íoc, is é an cúpláil SWC-BH seo an cineál píosa iontaofa a choinníonn d’innealra ag gluaiseacht, lá agus lá amach.
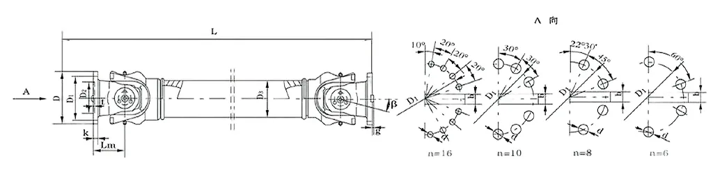
| Níl. | Trastomhas giration D mm | Casmhóiminte ainmniúil Tn KN·m | Uillinn fillte aiseanna β (°) | Casmhóiminte tuirseach Tf KN·m | Méid (mm) | Táimhe rothlach kg.m2 | Meáchan (kg) | |||||||||||
| Lmin | D1 (js11) | D2 (H7) | D3 | Lm | n-d | k | t | b (h9) | g | Lmin | Méadú 100mm | Lmin | Méadú 100mm | |||||
| SWC100WH | 100 | 1.25 | 0.63 | 25° | 243 | 84 | 57 | 60 | 55 | 6-9 | 7 | 2.5 | - | - | 0.0039 | 0.00019 | 4.5 | 0.35 |
| SWC120WH | 120 | 2.5 | 1.25 | 25° | 307 | 102 | 75 | 70 | 65 | 8-11 | 8 | 2.5 | - | - | 0.0096 | 0.00044 | 7.7 | 0.55 |
| SWC150WH | 150 | 5 | 25 | 25° | 350 | 130 | 90 | 89 | 80 | 8-13 | 10 | 3 | - | - | 0.371 | 0.00157 | 18 | 24.5 |
| SWC180WH | 180 | 12.5 | 6.3 | 25° | 180 | 155 | 105 | 114 | 110 | 8-17 | 17 | 5 | - | - | 0.15 | 0.007 | 48 | 2.8 |
| SWC225WH | 225 | 40 | 20 | 15° | 520 | 196 | 135 | 152 | 120 | 8-17 | 20 | 5 | 32 | 9 | 0.365 | 0.0234 | 78 | 4.9 |
| SWC250WH | 250 | 63 | 31.5 | 15° | 620 | 218 | 150 | 168 | 140 | 8-19 | 25 | 6 | 40 | 12.5 | 0.817 | 0.0277 | 124 | 5.3 |
| SWC285WH | 285 | 90 | 45 | 15° | 720 | 245 | 170 | 194 | 160 | 8-21 | 27 | 7 | 40 | 15 | 1.756 | 0.051 | 185 | 6.3 |
| SWC315WH | 315 | 125 | 63 | 15° | 805 | 280 | 185 | 219 | 219 | 10-23 | 32 | 8 | 40 | 15 | 2.893 | 0.0795 | 262 | 8 |
| SWC350WH | 350 | 180 | 90 | 15° | 875 | 310 | 210 | 267 | 194 | 10-23 | 35 | 8 | 50 | 16 | 5.013 | 0.2219 | 374 | 15 |
| SWC390WH | 390 | 250 | 125 | 15° | 955 | 345 | 235 | 267 | 215 | 10-25 | 40 | 8 | 70 | 18 | 8.406 | 0.2219 | 506 | 15 |
| SWC440WH | 440 | 355 | 180 | 15° | 1155 | 390 | 255 | 325 | 260 | 16-28 | 42 | 10 | 80 | 20 | 15.79 | 0.4744 | 790 | 21.7 |
| SWC490WH | 490 | 500 | 250 | 15° | 1205 | 435 | 275 | 325 | 270 | 16-31 | 47 | 12 | 90 | 22.5 | 26.54 | 0.4744 | 1014 | 21.7 |
| SWC550WH | 550 | 710 | 355 | 15° | 1355 | 492 | 320 | 426 | 325 | 16-31 | 50 | 12 | 100 | 22.5 | 48.32 | 1.357 | 1526 | 34 |
Má tá tú tuirseach de bheith ag déileáil le cúpláin fussy a chuireann moill ar do chuid oibre nó a bhriseann nuair is mó a bhíonn siad de dhíth ort, is athróir cluiche é Cúpláil Uilíoch Cineál Táthú SWC-WH Raydafon. Tá sé pacáilte le buntáistí a fhágann gur rogha iontach é d’aon duine a dteastaíonn tarchur chasmhóiminte mín uathu i gcórais mheicniúla - gan aon chéimeanna mearbhaill táthúcháin, díreach feidhmíocht sholadach a oireann do do shreabhadh oibre.
Ar dtús, tá sé i bhfad níos éasca an rud seo a shuiteáil ná mar a shílfeá. Murab ionann agus cúpláin táthaithe a chuireann iallach ort uirlisí breise a thabhairt isteach nó fanacht le welds a shocrú, úsáideann an SWC-WH dearadh bolta. Is féidir leat é a chur isteach sa socrú atá agat cheana féin go tapa, agus cathain atá an t-am le haghaidh cothabhála? Is iontach an rud é é a thógáil óna chéile, agus mar sin caitheann do threalamh tionsclaíoch níos lú ama díomhaoin. Sin an fáth gur comhchúpláil uilíoch ard-chasmhóiminte ildánach chomh mór sin é - gan aon tinneas cinn ar aga neamhfhónaimh, díreach tar isteach, socraigh an méid atá uait, agus faigh ar ais ag obair.
Marthanacht-ciallmhar, tá sé tógtha chun é a diana. Bainimid úsáid as ábhair thromshaothair a láimhseálann ualaí móra agus tonnchrith leanúnach gan sceach - atá oiriúnach do spotaí tionsclaíocha gnóthacha nach bhfaigheann trealamh sos i ndáiríre. Agus ós rud é nach bhfuil aon táthú ann, ní gá duit a bheith buartha faoi na spotaí laga sin a thagann aníos nuair a chaitheann welds le himeacht ama. Ní cúpláil é seo a chaithfear a athchur gach cúpla mí; is comhchúpláil uilíoch iontaofa é d’innealra tionsclaíoch a sheasann thart, ag coinneáil d’oibríochtaí seasta.
Míailínithe? Fadhb ar bith. Ní fhanann seaftaí líneáilte go foirfe, go háirithe i gcórais feithicleach nó iompair, ach láimhseálann an SWC-WH diallais uilleacha, aiseacha agus gathacha cosúil le pro. Is é an cineál cúplála comhpháirteach uilíoch seafta tiomána é a choinníonn an chumhacht ag gluaiseacht go réidh fiú nuair a bhíonn an t-ailíniú buacach - gan aon ghiorrú, gan titim, ach feidhmíocht chomhsheasmhach.
Agus abair linn costas. Cuireann táthú táillí breise saothair agus ábhair leis, ach ní shásaíonn an cúpláil sin go léir. Faigheann tú táirge ardchaighdeáin gan róchaiteachas, rud is bua mór d’aon bhuiséad. Fiú amháin i spotaí deacra mar shuiteálacha muirí, áit a bhfuil an chreimeadh ina bhagairt leanúnach, seasann sé mar chomhchúpláil uilíoch mhuirí iontaofa - dian in aghaidh sáile, éasca ar do sparán.
Má tá tú i mbun fuinnimh in-athnuaite, tá an cúpláil seo oiriúnach duit freisin. Is comhchúpláil soladach uilíoch é do threalamh fuinnimh in-athnuaite a bhogann cumhacht go héifeachtach, gan mórán dramhaíola. Ina theannta sin, tá sé éadrom, agus mar sin ní dhéanann sé do chóras a mheá - iontach chun rudaí a choinneáil ar siúl go hinbhuanaithe gan feidhmíocht a íobairt.
Ag Raydafon, ní dhíolaimid cúpláin amháin - déanaimid cinn a oireann do do chuid riachtanas. Is féidir an SWC-WH a shaincheapadh, mar sin oibríonn sé go díreach mar is mian leat é. Má tá a fhios agat conas is féidir leis do chuid oibríochtaí a dhéanamh níos réidhe, buail suas lenár bhfoireann. Beidh muid ag siúl tríd tú, gan aon bhéarlagair - ach labhairt go díreach faoi cad is féidir leis an cúplála a dhéanamh duit.
Oibríonn Cúpláil Uilíoch SWC-WH Gan Chineál Táthú Flex Raydafon as an eolas bunúsach maidir le comhmheicnic cardan - ach táimid tar éis é a mhionathrú chun poist thionsclaíocha a bhualadh níos deacra. An pointe ar fad? Faigh an chasmhóimint ag gluaiseacht go réidh idir dhá sheafta nach bhfuil líneáilte go foirfe, fiú nuair a bhíonn siad ar uillinn. Mar chúpláil comhpháirteach uilíoch seafta cardan SWC saintógtha, úsáideann sé píosa tras-chruthach sa lár chun an chumhacht rothlach a choinneáil ag sileadh go seasta - go díreach cén fáth go bhfuil sé chomh cúplála uilíoch ard-chasmhóiminte le haghaidh obair dhian ar nós muilte rollta nó innealra ardaitheoir.
Déanaimis croí an chaoi a n-oibríonn sé a bhriseadh síos: tá dhá chuing forc ann, agus iad ceangailte le cros lárnach (damhán alla a thugtar air). Ligeann an socrú seo do na cuingeanna pivot i dtreonna iolracha - mar sin fiú má dhéantar na seaftaí a fhritháireamh suas le 25° (is é sin uillinn fillte uasta na haise), cuirtear an chasmhóimint ar aghaidh go cothrom fós. Tá sonraíochtaí aige chun tacú leis sin freisin: raon trastomhais gírthaithe ó φ58 go φ620, agus láimhseálann sé an chasmhóimint ainmniúil ó 0.15 go 1000 kN·m. Agus é á úsáid agat mar chúpláil comhpháirteach uilíoch tromshaothair le haghaidh oibríochtaí muileann rollta, ciallaíonn an dearadh seo go n-iompaíonn rothlú ionchuir isteach i ngluaisne aschuir gan bac - déanann na hailt altacha sin maighdeog ina n-aonar chun cúiteamh a dhéanamh ar mhí-ailínithe, gan aon bhriseadh.
Cad a dhéanann an chuid “gan táthú flex” a bheith tábhachtach? D'athraíomar táthaithe le haghaidh naisc boltáilte nó clampáilte. Is féidir le táillí a bheith ina spotaí lag le himeacht ama, ach gearrann na dúntóirí seo síos ar rioscaí teip - agus déanann siad an cúpláil le chéile ar bhealach níos éasca freisin. Tá dearadh ceann forc uasghrádaithe ag an gcomhchúpláil chomhpháirteach tionsclaíoch seo freisin a stopann boltaí ó scaoileadh suas, rud a neartaíonn a neart struchtúrach 30% -50%. Is mór an rud é sin maidir le spotaí éilitheacha cosúil le mianaigh nó láithreáin tógála, áit a bhfeidhmíonn sé mar chúpláil comhpháirteach seafta uilíoch SWC buan - ag coinneáil suas faoi ualaí troma gan a thabhairt amach.
Is bua eile í an éifeachtúlacht anseo: buaileann sé suas le 98.6% éifeachtacht tarchurtha. Rinneamar innealtóireacht ar gach cuid chun laghdú a dhéanamh ar fhrithchuimilt agus ar dhramhaíl fuinnimh - mar sin ní haon ionadh é gur comhchúpláil uilíoch éifeachtach é do tharchur cumhachta mór i socruithe tionsclaíochta ardchumhachta. Agus ritheann sé ciúin: de ghnáth 30-40 dB(A). Sin mar gheall ar rothlú cothrom agus taiseadh creathadh ionsuite - rud a fhágann gur comhchúpláil uilíoch íseal-torann é d'áiteanna a bhfuil torann ina fhadhb. Ina theannta sin, coinníonn sé costais fuinnimh síos, mar sin seiceálann sé an bosca le haghaidh riachtanas comhchúplála uilíoch coigilte fuinnimh freisin.
I gcórais chúplála comhpháirteacha uilíocha innealra trom, is tábhachtaí é seo: leathnaíonn an SWC-WH fórsaí go cothrom trasna a chuid páirteanna go léir. Ní thógann aon phíosa amháin an iomarca brú, rud a chiallaíonn níos lú briseadh síos agus saol níos faide. Ag Raydafon, ní hamháin go dtógfaimid an cúpláil seo chun sonraíochtaí a chomhlíonadh - déanaimid é a shaincheapadh le bheith ag obair do do phost, cibé an innealra trom garbh nó socruithe tionsclaíochta speisialaithe é sin. Más mian leat é a athrú le go n-oibreoidh do chóras níos míne nó go mairfidh sé níos faide, níl le déanamh ach labhairt lenár bhfoireann - cabhróimid leat socrú a fháil a oireann go díreach don mhéid atá uait.
⭐⭐⭐⭐⭐ Zhang Wei, Innealtóir Meicniúla, Beijing Industrial Machinery Co., Ltd.
Tá Cúpláil Uilíoch SWC-WH Gan Táthú Flex Raydafon ar ár dtrealamh táirgthe le cúpla mí anois, agus tá sé ina thaibheoir seasta - go háirithe nuair a bhíonn muid ag brú ár n-innill chun ualaí arda a láimhseáil. Is é an rud is mó a thuigim ná an tógáil láidir atá aige: fiú ar na haistrithe fada éilitheacha sin ina bhféadfadh codanna eile tosú ag dul in olcas, coinníonn an cúpláil seo rudaí ag rith go réidh - gan aon chreathadh randamach, gan aon chliseadh tobann a chuireann deireadh lenár líne iomlán.
Bhí suiteáil Breeze freisin. Ní raibh ar ár bhfoireann uaireanta a chaitheamh ag déanamh amach céimeanna casta; d'éirigh linn é a shuiteáil go tapa agus níor ghá dúinn é a athrú ó shin. I gcás fearas tromshaothair mar atá againne, ní féidir iontaofacht agus cáilíocht a phlé, agus seiceálann an cúpláil seo an dá bhosca. Tá sé cruthaithe ag Raydafon gur comhpháirtí iad ar féidir linn brath air anseo - táimid fíor-sásta leis an gcaoi a bhfuil an táirge seo ag fanacht.
⭐⭐⭐⭐⭐ John Smith, Bainisteoir Gléasra, Florida Manufacturing, USA
Chuir mé cúpláil SWC-WH Raydafon in úsáid ag ár n-áis i Florida cúpla mí ar ais, agus bhí sé díreach mar a theastaigh uainn - simplí, gan stró, agus éifeachtach go comhsheasmhach. Fanann tarchur cumhachta cobhsaí, rud atá ríthábhachtach chun ár dtáirgeadh a choinneáil ar luas, agus níor ghá dúinn teagmháil a dhéanamh leis le haghaidh cothabhála uair amháin. Sin bua mór dúinn; ciallaíonn níos lú ama páirteanna a dheisiú níos mó ama chun obair a dhéanamh.
Fiú nuair a bhíonn na meaisíní á rith go dian againn, faoi strus ard, ní bhíonn an cúpláil seo ag dul in olcas - leanann sé ar aghaidh. Bhí an tsuiteáil simplí freisin; chuir ár techs é ar bun in am ar bith. Agus nuair a phéireálann tú an fheidhmíocht sin le praghas réasúnta? Is luach soladach é. Ina theannta sin, bhí tacaíocht do chustaiméirí Raydafon den chéad scoth nuair a bhí ceist thapa againn - tháinig siad ar ais chugainn go tapa. Gan dabht leanfaimid orainn ag úsáid a gcuid táirgí síos an líne.
⭐⭐⭐⭐⭐ Roberto Silva, Stiúrthóir Oibríochtaí, São Paulo Engineering Solutions, an Bhrasaíl
Táimid i gcomhpháirtíocht le Raydafon le tamall anuas anois, ach sheas a chúpláil SWC-WH Without Flex i ndáiríre inár n-oibríochtaí - tá sé cruthaithe gur fiú é arís agus arís eile. Is é an chéad rud a thugann tú faoi deara ná a thógáil soladach; mothaíonn sé tógtha le maireachtáil, agus aistríonn sin le feidhmíocht iontaofa ar ár n-innealra.
Sular aistrigh muid go dtí an cúpláil seo, bhíomar ag déileáil le downtime minic ó cheisteanna mí-ailínithe agus caitheamh roimh am ar ár seanchodanna. Anois? Tá na fadhbanna sin imithe. Laghdaigh sé ár n-am neamhfhónaimh, rud a chuir go mór leis an táirgiúlacht. Agus suiteáil? Sár-éasca - níor chuir ár bhfoireann am amú le socrú fabhtcheartaithe. Maidir le cuideachta ar bith a bhfuil páirteanna tarchurtha cumhachta de dhíth orthu ar féidir leo muinín a bheith acu, ní haon chiall é seo. Mholfainn go hiomlán é.
⭐⭐⭐⭐⭐ Peter Müller, Maoirseoir Teicniúil, Stuttgart Manufacturing GmbH, An Ghearmáin
Táimid ag baint úsáide as cúpláil SWC-WH Raydafon inár saoráid táirgthe Stuttgart le breis agus sé mhí, agus tá sé gan locht - go dáiríre, ní ceist amháin é an t-am ar fad. Tá a dhearadh simplí, rud a fhágann gur cinch a shuiteáil; bhí sé feistithe ag ár bhfoireann agus réidh le dul ann in am ar bith, ní raibh gá le céimeanna casta ná le huirlisí speisialta.
Is é an rud a chuireann isteach go mór orm, áfach, ná an cháilíocht. Tá an táthú glan agus láidir, agus mothaíonn na hábhair ardghrád - is féidir leat a rá nár ghearr siad coirnéil. Coinnítear suas go foirfe é agus é á úsáid go rialta, rud a léiríonn náid comharthaí caitheamh fiú tar éis míonna d’oibríocht leanúnach. Táimid thar a bheith sásta leis an gcaoi a bhfeidhmíonn an táirge seo, agus tá sé ar ár liosta cheana féin le húsáid le haghaidh tionscadal amach anseo.
Seoladh
Limistéar Tionscail Luotuo, Ceantar Zhenhai, Cathair Ningbo, an tSín
Teil
R-phost


+86-574-87168065


Limistéar Tionscail Luotuo, Ceantar Zhenhai, Cathair Ningbo, an tSín
Cóipcheart © Raydafon Technology Group Co., Limited Gach ceart ar cosaint.
Links | Sitemap | RSS | XML | Beartas Príobháideachta |
